一般社団法人 発明学会

アイデア一覧

  1. 生活用品
  2. 玩具,レジャー,スポーツ
  3. 文具,事務用品
  4. 健康,衛生,介護
  5. 衣料,寝具,履物
  6. カー用品関係、運搬機器
  7. 防犯,防災,農業
  8. その他

8.その他

ガイダンス付きエアバッグ

ガイダンス付きエアバッグ

自動車事故直後の迅速で落ち着いた事故処理対応を可能とします。

発明者

中島 克則

その他

詳細をみる

■登録日:2024/10/25■問い合せNo. RT241024

鐘付き携帯掲示板ープラカード

鐘付き携帯掲示板ープラカード

掲示板(プラカード)+情報カード+鐘の3点の組み合わせが実用新案です

発明者

坪井 一男

その他

詳細をみる

■登録日:21/09/24■問い合せNo. RT211021

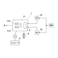
レジ袋要否選択装置

レジ袋要否選択装置

レジ袋有料化に伴い、会計時に要否を確認する作業が増えた。この装置は非接触で飛沫感染も予防しながら意思表示ができる。

発明者

桑名 里佳

その他

詳細をみる

■登録日:20/08/26■問い合せNo. RT201007

耳掛け装飾

耳掛け装飾

耳掛けと装飾部が分かれており、耳掛けは、今コロナウイルスで全世界がマスクをしなければならない状況にあり、マスクのゴムで耳が痛いと言う人が多くいます。そうした方向けの発明品です

発明者

穴田 和彦

その他

詳細をみる

■登録日:2020/5/20■問い合せNo. RT191006

INSTANTOは表札

INSTANTOは表札

INSTANTOをインスタントホテル、インスタントカフェ、インスタントコンビニの表札にしようと出願しました。

発明者

須藤 直昭

その他

詳細をみる

■登録日:2019/9/7■問い合せNo. RT191004

No.08-180201

可変注入口付スプレーボトル

田村 一義

実用新案登録済

試作品:有

こぼす、垂れる、うまく入らないそんな悩みを解消します。液体用詰め替え商品注入をスムーズに注入可能にするアイデアです。 取り付けキャップを回し、ノズル本体を持ち上げると中から、左の写真の様に広がり、漏斗を使用せず、テーブルを汚さずに 液体を注入できる商品です。

No.08-180101

フィルター付仕切り板

田村 一義

実用新案登録済

試作品:有

集合住宅等のベランダ床と防火壁の隙間を塞ぐためのフィルター付仕切り板を取り付けることによって、隣からのハウスダスト、植栽の枯葉、ペットの毛を 遮断し、排水口の目詰まり防止になり、また猫や爬虫類等ペットの侵入を防止し、隣人トラブルが発生しない環境を維持するものです。

No.08-170601

高枝切る鋸

小窪 義雄

特許出願済

試作品:有

鋸は切る枝に対して、鋸歯を押し当てなければ切ることは出来ません。しかしながら、長柄の先に取り付けた鋸を枝に 押し当てるのは大変疲れるものです。この高枝切る鋸は、鋸歯を枝に押し当てることなく、引くだけで枝を切ることの出来る鋸です。

No.08-170401

モーター発電機

茂木 克己

特許出願済

試作品:無

充電池でモーターを回転させて電源切替装置で充電池からの電気を発電機の電気エネルギーに切り替え、モーターを回転させ発電させるモーター発電機である。どこでも発電することができます。

No.08-170402

トリプルオークション

西村 慎司

特許登録済

試作品:無

ダブルオークションに第3者が保証価格を提示するのが本発明のトリプルオークションです。3つの価格の提示により公正な適正価格を導き出すことができ、 保証価格が指標となって売値と買値の見当違いの価格提示がなくなり、オークションの成立率が上がります。

No.08-170403

鑑定団ネットオークション

西村 慎司

特許登録済

試作品:無

商品を売買するオークションに、鑑定を行う鑑定団と保証を行う保険グループが参加するオークション方法です。公平で公正な 取引が実現でき、売り手と買い手を平等に保護して、特に高額品を取引することに適しています。中古不動産などの取引にも活用できます。

No.08-161001

雪国用太陽光発電パネル架構ユニット

水口 久

特許出願済

試作品:無

積雪期には根雪対応のフラップ構造と全体の垂直架構により安全に雪に埋まり、そこで破損することなく一時期の限定される受光条件を受け入れ、年間を通した発電量に期待をかける考え方の雪国用太陽光発電パネル架構ユニットです。土地利用の柔軟性があります。

No.08-160901

手鏡(富山県知事賞受賞作品)

穴田 和彦

特許出願済

試作品:有

この手鏡は、横顔、頭の旋毛、襟足など捻ることにより、見る側の鏡は定位置で見たい部分を捻ることにより素早く確認でき、 コンパクトで軽く持ち運びに便利である。使用年代は老若男女を問わず、幅広く使用して頂けると思います。利用方法と致しましては、 男性ですと頭頂部の禿げ具合や、鼻毛が出ているかの有無、耳垢が付いているかどうか、女性としては、髪の毛全体が整っているかどうか、 まつ毛やつけまつ毛のカール具合など、気になる部分を写し出せる鏡であります。現在市販されています鏡は、4面鏡つきで重たく捻りができなくて、 見たい方向に鏡をずらさなくてはいけません。私の発明した手鏡は、鏡部は2面であり、 繋ぎの部分を斜めにしたことにより見たい部分を捻ることができ、被写体を容易に見ることができます。

No.08-160401

うめぼしお

和田 恵治

商標登録済

試作品:有

梅干しと食塩を併せた調味料です。 『うめぼしお』のネーミングで新製品企画しませんか。語呂もよく意味も理解できて覚えやすいのでグッドネーミングとしての要素は 全て備わっています。ユーモアとインパクトがあるので差別化ができて戦略的な販売企画ができます。

No.08-160201

スリッパ収納家具

門 哲男

特許出願済

試作品:有

手で触れることなく収納状態から履ける状態にスリッパを揃え、手で触れることなく脱いだスリッパを収納する、衛生的なスリッパ収納家具。この働きは家具に備わっているスリッパ保持具の上下移動操作によって行われます。

No.08-160101

自動配電管理システム

細野 力哉

実用新案登録済

試作品:無

部屋メータと共用メータを並列に設け、それらを互いに切り替えることができる自動切替配電装置を利用した管理システムの提供を目的としました。該配電盤にその部屋の電気使用容量を測定するカウンタが設けられていることも特徴の一つです。

No.08-160102

自動切替配電装置

細野 力哉

実用新案登録済

試作品:無

賃貸マンション等で空き部屋の改装や清掃に電気を使用する場合、その作業毎に必要であった電力会社への連絡を省略させ、より簡単に電気を使用できるようにした配電盤です。部屋メータと共用メータを並列に設け、それらを互いに切り替えることができます。

No.08-150601

観賞用壁掛け照明

荘村 宏行

特許出願済

試作品:有

壁照明に受け棚を設け、生け花、その他水栽培などを受け棚の上に置き、インテリア効果を上げるために、壁照明と受け棚を一体化した観賞用壁掛け照明。

No.08-150602

発電用磁界として地磁気を利用した風力発電装置

中野 石太郎

特許登録済

試作品:無

自然の法則を利用:地磁気をりようし風力を利用している。技術的思想:発電機の技術的創造に優れている。環境にやさしく、省エネを考慮した装置である。災害時や僻地に非常に適している。

No.08-150201

3Dヘッドホンステレオとその応用例

佐藤 正志

実用新案登録済

試作品:無

ヘッドホンステレオのヘッドバンド中央に骨伝導スピーカーを設け、時間差によるレベル差検出でディレイ時間を変え、サラウンド効果を得る。外部に聞こえない骨伝導スピーカーで通信手段で臨場感の他に多岐に亘る応用がある。

No.08-150202

犬の糞取り具

高橋 英栄

意匠登録済

試作品:有

犬のフンをビニール袋に直接させる丸いリングに、突起と持ち手を設ける。ビニール袋をリングの内側から突起に付ける(複数枚可能)。布袋をかぶせ持ち手を出す。フンを取る時、布袋をめくりビニール袋を真下に出す。雨の日や風の強い時でも簡単に取れて衛生的です。

No.08-141201

コーナーカッター(ジャストワン)

泉 鉄也

意匠出願済

試作品:有

インテリア床材施工工具です。軽量・コンパクト・手の平サイズで使いやすくフィット致します。カッターの刃は材料に応じて、「カッターの刃」、「フックカッター」とワンタッチで交換できます。

No.08-140901

保護シース(挟圧保護具)

本間 隆史

特許出願済

試作品:有

電気製品のコード、それ以外ではロープ又はチューブ類を止むを得ずドア等に挟まざるを得ない時、それらに直接挟む圧力がかからないようにして断線、破損を防止しつつ且つコード類を滑らかに動かすこともでき、安全の確保と作業性の向上に役立ちます。

No.08-140301

配管用穴埋め保持器

白鳥 正

実用新案登録済

試作品:有

ビル等の配管用穴埋め保持器。濡れたコンクリート面や大きな穴もワンタッチで下準備できる。パンクの心配がなく、緊密な穴埋めができる。造作作業や接着シートが不要で、繰り返し使えて経済的です。

No.08-140201

安全帯用補助具

最首 哲也

実用新案登録済

試作品:有

安全帯の両サイドに環がついている位置にフックが来るようにした補助具で、両環にロープを渡して中央で吊ると両サイドの環が中央により、胴を圧迫します。それを防ぐ道具として作りました。

No.08-130801

電動灰清掃具

万本 高

実用新案登録済

試作品:有

仏壇に使用する、線香の残りカスを取るのに大変苦労しました。色々と仏壇屋さんを見て廻りましたが、残りカスを取るのに手間のかかるものばかりでした。 どの商品も容器を移し変えなければならない物が多く、灰が、舞って大変です。香炉を動かさないで線香の残りカスを取る方法は ないものかと考案しました。周りを汚さず線香の残りカスが数秒で取れるようになりました。

No.08-130701

撹拌機の撹拌バドル

内田 道夫

特許登録済

試作品:有

撹拌バトルの気泡混入を減らして綺麗に仕上げたいので考えました。この撹拌バトルの羽根が回転すると∞の字を描くような 動きをしますので、カラーマスターと硬化剤がうまく混ざり気泡混入の巻き込みと減少できました。

No.08-130301

ポイ捨て禁止

粥川 千鶴

商標出願済

試作品:有

ゴミのポイ捨ては社会の問題視となっております。多くの方が善意で清掃に励んでおられますが、大切な事はポイ捨て をなくす事です。日本列島からポイ捨てがなくなる事を望んでポイ捨て禁止マークを考案しました。

No.08-130101

軒先雪下ろし具

國分 洋一

意匠出願済

試作品:有

本物品は屋根の軒先部分の雪下ろしを地上から行うことが出来る道具で、伸縮可能な軸と該軸の先端部に押し付けられた雪かき板 で構成されており、該雪かき板は軸に対して約70度の角度で取り付けられている。その効果は雨樋を雪の凍結から保護し、 かつ軒先の落雪防止に役立つ。

No.08-130102

振りこめ用心

吉岡 正博

商標登録済

試作品:有

「振り込め」と「おこめ」をかけて、用心を付けた米の名前で、身近な米を使って、振り込め詐欺の被害を防ぐための注意文を プリントした配布用小袋や米パック、広報展示袋にしたものです。

No.08-130103

スマホポッチフィルム

筒井 海太

特許出願済

試作品:有

スマートフォンなどのタッチパネル操作の際、タッチする場所が指先の感触でわかるため、操作ミスが少なくなる。 自分が使っているスマートフォンに合わせて好きな位置に貼ることができる。

No.08-130104

靴識別機能付き靴べら

植田 眞弘

特許出願済

試作品:有

脱いだ靴に挟んで目印とする携帯用靴べらです。靴べらの色、紐や飾り具の色、名前の記入で多くの靴の中から自分の靴 を容易に見つけることができます。靴を脱ぎ、座敷形式で行う葬儀や法事、飲食店での会食時など、 特に男性用の黒いビジネスシューズの識別に適しています。

No.08-121101

傘立てバンド

大濱 哲

特許出願済

試作品:無

本品は傘立てバンドと言って、電車の座席に座った時に足のひざ下に固定して傘を置くものです。そうする事で両手が使え、 又傘の置忘れを防止する事もできます。また、カフェでも、椅子に固定する事で傘の置き場所を確保する事ができ、 安心して珈琲を飲むことが出来ます。

No.08-120701

指輪の回転を防止する留め具

三本木 厚子

実用新案登録済

試作品:無

加齢等で太くなる指の節を通る指輪は付け根で緩くなります。真珠等の指輪は更に回転し、つけ心地が劣ることに多くの女性が 悩んでいます。 サイズ調整でも防げない回転を、この留め具を指と指輪の間に装着することで防止し、更に握る等の動作から指輪への傷防止に なります。

No.08-120401

締付固定具

滝口 吉郎

特許出願中

試作品:無

ゆるまないネジです。 ナットの座面を鋸歯状にし、ワッシャの引っ掛かりによりゆるまないようになっています。

No.08-120402

花瓶補助具

飯塚 喜昭

特許出願中

試作品:有

花を生ける時に枝や茎を使用せずに生ける事が出来ます。また、花瓶の高さに合わす事が出来るようスライド式、縁の大きさに対応 出来る様、色々な大きさの固定盤を設けました。

No.08-120403

多機能プランター用台車

花谷 里子

実用新案登録済

試作品:有

重いプランターを簡単に移動するため、キャスター付の台車とし、背面に ワイヤーネットを設けることで、蔓性植物を立体的に絡ませることが出来ます。プランターを置く面、背面ともにワイヤーで格子状となっているため、 水切れ、通気性に優れています。

No.08-120404

立体フラワーベース

花谷 里子

実用新案登録済

試作品:有

蝶の気分になって、花を真上から見た様子が表現できるフラワーベースです。フロントパネルに設置された格子により 型崩れせず簡単に花を挿せます。パネルの大きさ、材質、形状の変化で空間を様々に飾ることが出来ます。

No.08-120301

墨出し冶具〔墨出しペッタン〕(仮称)

吉田 英雄

特許出願中

試作品:有

墨出し作業を一人で簡易的に作業をする事ができる「簡易墨出し冶具」(仮称:墨出しペッタン)です。しかも安価で2~3回 の転用も可能且つ、使い捨てです。

資料請求

よくある質問

コンクール開催情報

発明学会公式SNS

人気コンテンツ